Product Summary
The 6DI100AH-050 is a power transistor module. The applications of it are AC motor controls, air conditioners.
Parametrics
6DI100AH-050 absolute maximum ratings: (1)VCBO: 600V; (2)VCEO: 600V; (3)VCEO(SUS): 450V; (4)VEBO: 6V; (5)IC: 100A; (6)ICP: 200A; (7)-IC: 100A; (8)IB: 6A; (9)IBP: 12A; (10)PC: 400W; (11)Tj: +150℃; (12)Tstg: -40℃ to +125℃; (13)m: 450g; (14)Viso: 2500V.
Features
6DI100AH-050 features: (1)high DC current gain; (2)insulated type; (3)including free wheeling diode.
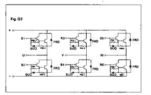
Diagrams

(China (Mainland))






