Product Summary
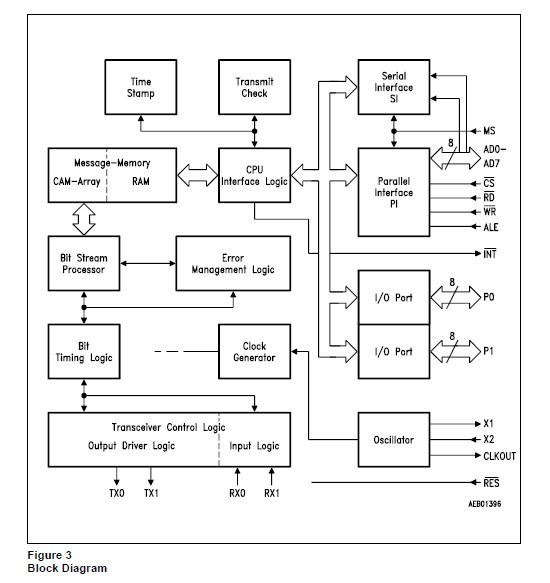
The SAE81C90E13 is a Siemens Stand Alone Full CAN (SFCAN) circuit. It incorporates all the parts for completely autonomous transmission and reception of messages using the CAN protocol. The flexible, programmable interface of SAE81C90E13 allows hookup to different implementations of the physical layer. The link to a host controller can be made either by a multiplexed 8-bit address/data bus or by a high-speed, serial synchronous interface.
Parametrics
SAE81C90E13 absolute maximum ratings: (1)Ambient temperature under bias (TA): –40 to +110℃; (2)Storage temperature (TST): –50 to +150℃; (3)Voltage on VCC pins with respect to ground (VSS): –0.5 to +6.0V; (4)Voltage on any pin with respect to ground (VSS): –0.5 to VCC +0.5V; (5)Input current on any pin during overload condition: –10 to +10mA; (6)Absolute sum of all input currents during overload condition: ±100mA; (7)Power dissipation: 0.5W.
Features
SAE81C90E13 features: (1)Full CAN controller for data rate up to 1 Mbaud; (2)Complies with CAN specification V2.0 part A(part B passive); (3)Up to 16 messages simultaneous(each with maximum data length); (4)Message identifier reprogrammable on the fly; (5)Several transmit jobs can be sent with a single command; (6)Transmit check; (7)Basic CAN feature; (8)Time stamp for eight messages; (9)Two host interfaces (parallel and serial); (10)User-configurable outputs for different bus concepts; (11)Programmable clock output; (12)Two 8 bit I/O-Port extension (P-LCC-44-1 package only).
Diagrams

![]() |
![]() SAE800 |
![]() Infineon Technologies |
![]() Audio DSPs TRIPLE TONE GONG 2.8 V 10.0 mA |
![]() Data Sheet |
![]()
|
|
||||||||
![]() |
![]() SAE800G |
![]() Infineon Technologies |
![]() Audio DSPs Tone Gong |
![]() Data Sheet |
![]()
|
|
||||||||
![]() |
![]() SAE800G GEG |
![]() Infineon Technologies |
![]() Multimedia Misc Prog Sngl/Dual/Trpl Tone Gong |
![]() Data Sheet |
![]() Negotiable |
|
||||||||
![]() |
![]() SAE800GNK |
![]() Infineon Technologies |
![]() Multimedia Misc TONE GONG 18V |
![]() Data Sheet |
![]() Negotiable |
|
||||||||
![]() |
![]() SAE81C52 |
![]() Other |
![]() |
![]() Data Sheet |
![]() Negotiable |
|
||||||||
![]() |
![]() SAE81C54 |
![]() Other |
![]() |
![]() Data Sheet |
![]() Negotiable |
|
||||||||
(China (Mainland))









