Product Summary
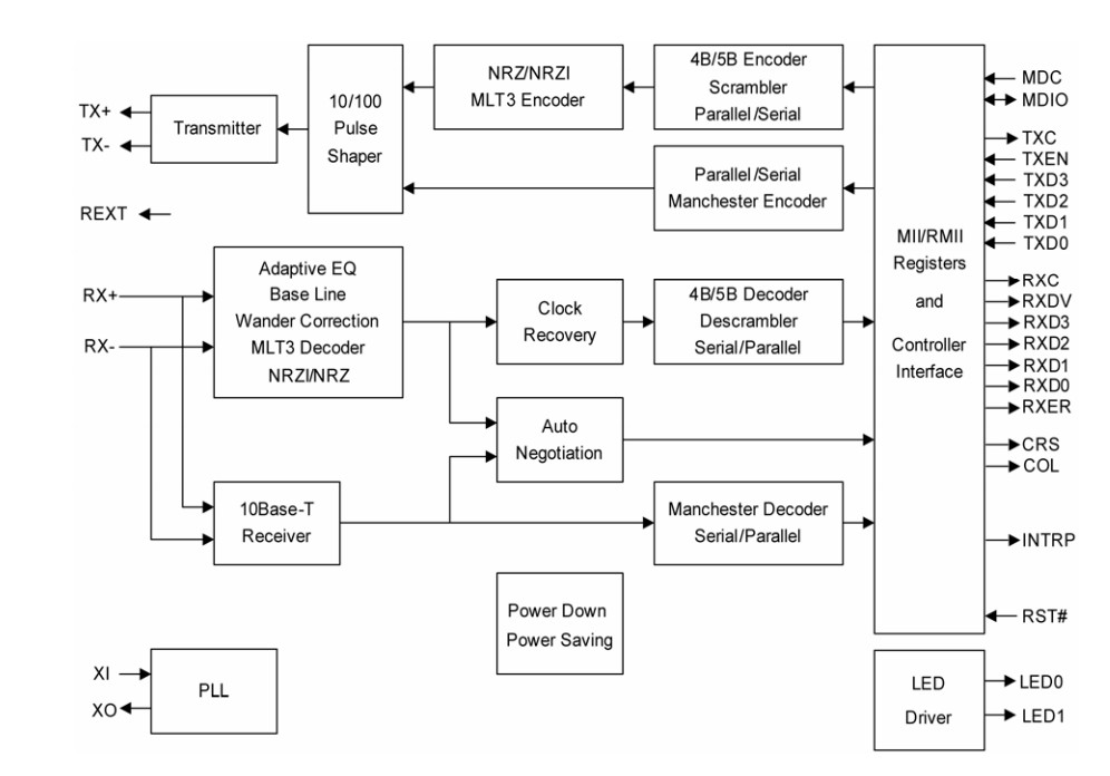
The KSZ8041NL is a single supply 10Base-T/100Base-TX Physical Layer Transceiver, which provides MII/RMII interfaces to transmit and receive data. An unique mixed signal design extends signaling distance while reducing power consumption. HP Auto MDI/MDI-X provides the most robust solution for eliminating the need to differentiate between crossover and straight-through cables. The KSZ8041NL represents a new level of features and performance and is an ideal choice of physical layer transceiver for 10Base-T/100Base-TX applications.
Parametrics
KSZ8041NL absolute maximum ratings: (1)(VDDPLL_1.8): -0.5V to +2.4V; (2)(VDDIO_3.3, VDDA_3.3): -0.5V to +4.0V; (3)Input Voltage (all inputs): -0.5V to +4.0V; (4)Output Voltage (all outputs): -0.5V to +4.0V; (5)Lead Temperature (soldering, 10sec.): 260℃; (6)Storage Temperature (Ts): -55 to +150℃; (7)ESD Rating(3): 6kV.
Features
KSZ8041NL features: (1)Single-chip 10Base-T/100Base-TX physical layer solution ; (2)Fully compliant to IEEE 802.3u Standard ; (3)Low power CMOS design, power consumption of <180mW ; (4)HP auto MDI/MDI-X for reliable detection and correction for straight-through and crossover cables with disable and enable option; (5)Robust operation over standard cables; (6)Power down and power saving modes; (7)MII interface support; (8)RMII interface support with external 50MHz system clock; (9)MIIM (MDC/MDIO) management bus for PHY register configuration; (10)Interrupt pin option; (11)Programmable LED outputs for link, activity and speed; (12)ESD rating (6kV); (13)Single power supply (3.3V); (14)Built-in 1.8V regulator for core; (15)Available in 32-pin (5mm x 5mm) MLF package.
Diagrams

| Image | Part No | Mfg | Description | ![]() |
Pricing (USD) |
Quantity | ||||||||||||||
|---|---|---|---|---|---|---|---|---|---|---|---|---|---|---|---|---|---|---|---|---|
![]() |
![]() KSZ8041NL AM |
![]() |
![]() IC TXRX PHY 10/100 AUTO 32-MLF |
![]() Data Sheet |
![]()
|
|
||||||||||||||
![]() |
![]() KSZ8041NL AM TR |
![]() |
![]() TXRX PHY 10/100 3.3V 32MLF |
![]() Data Sheet |
![]()
|
|
||||||||||||||
![]() |
![]() KSZ8041NLI TR |
![]() |
![]() IC TXRX PHY 10/100 LV/LP 32-MLF |
![]() Data Sheet |
![]()
|
|
||||||||||||||
![]() |
![]() KSZ8041NL TR |
![]() |
![]() IC TXRX PHY 10/100 LV/LP 32-MLF |
![]() Data Sheet |
![]()
|
|
||||||||||||||
![]() |
![]() KSZ8041NLA3TR |
![]() |
![]() TRANSCEIVER 10/100 32-MLF |
![]() Data Sheet |
![]() Negotiable |
|
||||||||||||||
![]() KSZ8041NL-EVAL |
![]() |
![]() BOARD EVALUATION FOR KSZ8041NL |
![]() Data Sheet |
![]()
|
|
|||||||||||||||
![]() |
![]() KSZ8041NLJ TR |
![]() |
![]() TXRX PHY 10/100 3.3V 32MLF |
![]() Data Sheet |
![]()
|
|
||||||||||||||
(China (Mainland))









