Product Summary
The 6DI50B-050 is a power transistor module. The applications of the 6DI50B-050 include AC motor controls and air conditioners.
Parametrics
6DI50B-050 absolute maximum ratings: (1)VCBO: 600V; (2)VCEO: 600V; (3)VCEO(SUS): 450V; (4)VEBO: 10V; (5)IC at DC: 50A; (6)ICP at 1ms: 100A; (7)-IC at DC: 50A; (8)IB at DC: 3A; (9)IBP at 1ms: 6A; (10)PC at one transistor: 230W; (11)PC at six transistor: 1380W; (12)Tj: 150℃; (13)Tstg: -40 to 125℃; (14)m: 450g; (15)Visol at AC.1min: 2500v; (16)mounting: 35 kg.cm; (17)terminal: 17 kg.cm.
Features
6DI50B-050 features: (1)high DC current gain; (2)Including free wheeling diode; (3)Insulated type.
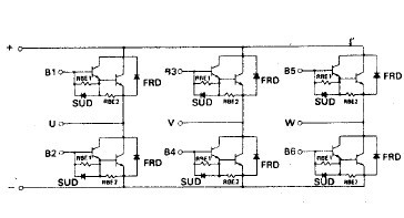
Diagrams

(China (Mainland))






