Product Summary
The 2MBI200KB-060 is an IGBT module.
Parametrics
2MBI200KB-060 absolute maximum ratings: (1)Collector-Emitter voltage VCES Ic=1mA: 600 V; (2)Gate-Emitter voltage VGES: ±20 V; (3)Collector Power Dissipation Pc: 780 W; (4)Junction temperature Tj: 150 ℃; (5)Storage temperature Tstg: -40~ +125 ℃; (6)Isolation voltage Viso AC : 1min.: 2500 V.
Features
2MBI200KB-060 features: (1)Zero gate voltage Collector current ICES VGE = 0 V, VCE = 600 V: 2.0 mA; (2)Gate-Emitter leakage current IGES VCE = 0 V, VGE = ±20 V: 400nA; (3)Allowabe avalanche energy during short circuit cutting off PAV Ic > 400A, Tj = 125℃: 140mJ.
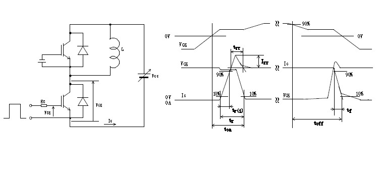
Diagrams

(China (Mainland))






