Product Summary
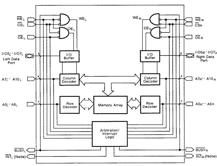
The MB8421-90L is a 2K* 8bits CMOS dual-port static random access memory. The MB8421-90L provides the user with two separately controlled I/O ports with independent addresses, chip select, write enable, output enable, and I/O functions.
Parametrics
MB8421-90L absolute maximum ratings: (1)supply voltage:-0.5V to +7V; (2)input voltage on any pin with respect to VSS:-0.5V to VCC+0.5V; (3)output voltage on any I/O pin with respect to VSS:-0.5V to VCC+0.5V; (4)output current:±20mA; (5)power dissipation:1.0W; (6)temperature under bias:-10℃ to +85℃; (7)storage temperature:-40℃ to +125℃.
Features
MB8421-90L features: (1)organization:2048 words * 8bits; (2)static operation: no clocks or timing strobe required; (3)single +5V power supply ±10% tolerance; (4)TTL compatible inputs and outputs; (5)three-state outputs with OR-tie capacity; (6)electrostatic protection for all inputs and outputs; (7)address arbitration function: BUSY flag; (8)interrupt function for communication between systems; (9)data retention voltage:2V min.
Diagrams

| Image | Part No | Mfg | Description | ![]() |
Pricing (USD) |
Quantity | ||||
|---|---|---|---|---|---|---|---|---|---|---|
![]() |
![]() MB8421-90LP |
![]() Other |
![]() |
![]() Data Sheet |
![]() Negotiable |
|
||||
| Image | Part No | Mfg | Description | ![]() |
Pricing (USD) |
Quantity | ||||
![]() MB84 |
![]() |
![]() RECTIFIER BRIDGE 8A 400V BR-6 |
![]() Data Sheet |
![]() Negotiable |
|
|||||
![]() |
![]() MB8421-90LP |
![]() Other |
![]() |
![]() Data Sheet |
![]() Negotiable |
|
||||
![]() |
![]() MB84-B |
![]() Micro Commercial Components (MCC) |
![]() Bridge Rectifiers 400V 8A |
![]() Data Sheet |
![]() Negotiable |
|
||||
![]() |
![]() MB84256 |
![]() Other |
![]() |
![]() Data Sheet |
![]() Negotiable |
|
||||
![]() |
![]() MB84256C-10LPF |
![]() Other |
![]() |
![]() Data Sheet |
![]() Negotiable |
|
||||
![]() |
![]() MB84257A |
![]() Other |
![]() |
![]() Data Sheet |
![]() Negotiable |
|
||||
(China (Mainland))










