Product Summary
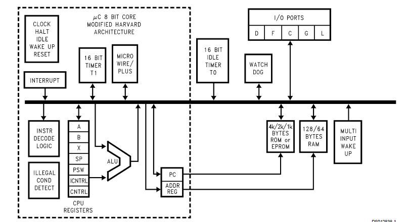
The COP8SAC728N8/NOPB is an 8-Bit CMOS ROM Based and One-Time Programmable (OTP) Microcontroller with Power On Reset, and Very Small Packaging. The COP8SAC728N8/NOPB is highly integrated COP8 features core device, with 1k to 4k memory and advanced features including low EMI. The COP8SAC728N8/NOPB is suited for low cost applications requiring a full featured controller, low EMI, and POR. 100% form-fit-function compatible OTP versions are available with 1k, 2k, and 4k memory, and in a variety of packages including 28-pin CSP. Erasable windowed versions are available for use with a range of COP8 software and hardware development tools.
Parametrics
COP8SAC728N8/NOPB absolute maximum ratings: (1)Supply Voltage (VCC): 7V; (2)Voltage at Any Pin: -0.6V to VCC +0.6V; (3)ESD Protection Level: 2 kV (Human Body Model); (4)Total Current into VCC Pin (Source): 80 mA; (5)Total Current out of GND Pin (Sink): 100 mA; (6)Storage Temperature Range: -65℃ to +140℃.
Features
COP8SAC728N8/NOPB features: (1)Low cost 8-bit OTP microcontroller; (2)OTP program space with read/write protection (fully secured); (3)Quiet Design (low radiated emissions); (4)Multi-Input Wakeup pins with optional interrupts (4 to 8 pins); (5)8 bytes of user storage space in EPROM; (6)User selectable clock options, Crystal/Resonator options; Crystal/Resonator option with on-chip bias resistor; External oscillator; Internal R/C oscillator; (7)Internal Power-On Reset—user selectable; (8)WATCHDOG and Clock Monitor Logic—user selectable; (9)Up to 12 high current outputs.
Diagrams

| Image | Part No | Mfg | Description | ![]() |
Pricing (USD) |
Quantity | ||||||||||||
|---|---|---|---|---|---|---|---|---|---|---|---|---|---|---|---|---|---|---|
![]() |
![]() COP8SAC728N8/NOPB |
![]() National Semiconductor (TI) |
![]() 8-bit Microcontrollers (MCU) |
![]() Data Sheet |
![]()
|
|
||||||||||||
| Image | Part No | Mfg | Description | ![]() |
Pricing (USD) |
Quantity | ||||||||||||
![]() |
![]() COP820CJ |
![]() Other |
![]() |
![]() Data Sheet |
![]() Negotiable |
|
||||||||||||
![]() |
![]() COP822CJ |
![]() Other |
![]() |
![]() Data Sheet |
![]() Negotiable |
|
||||||||||||
![]() |
![]() COP823CJ |
![]() Other |
![]() |
![]() Data Sheet |
![]() Negotiable |
|
||||||||||||
![]() |
![]() COP824CJ |
![]() Other |
![]() |
![]() Data Sheet |
![]() Negotiable |
|
||||||||||||
![]() |
![]() COP840CJ |
![]() Other |
![]() |
![]() Data Sheet |
![]() Negotiable |
|
||||||||||||
![]() |
![]() COP8780C |
![]() Other |
![]() |
![]() Data Sheet |
![]() Negotiable |
|
||||||||||||
(China (Mainland))










