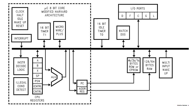
Product Summary
The COP8SAB728M8 is an 8-Bit CMOS ROM Based and One-Time Programmable (OTP) Microcontroller with Power On Reset, and Very Small Packaging. The COP8SAB728M8 is highly integrated COP8 features core device, with 1k to 4k memory and advanced features including low EMI. The COP8SAB728M8 is suited for low cost applications requiring a full featured controller, low EMI, and POR. 100% form-fit-function compatible OTP versions are available with 1k, 2k, and 4k memory, and in a variety of packages including 28-pin CSP. Erasable windowed versions are available for use with a range of COP8 software and hardware development tools.
Parametrics
COP8SAB728M8 absolute maximum ratings: (1)Supply Voltage (VCC): 7V; (2)Voltage at Any Pin: -0.6V to VCC +0.6V; (3)ESD Protection Level: 2 kV (Human Body Model); (4)Total Current into VCC Pin (Source): 80 mA; (5)Total Current out of GND Pin (Sink): 100 mA; (6)Storage Temperature Range: -65℃ to +140℃.
Features
COP8SAB728M8 features: (1)Low cost 8-bit OTP microcontroller; (2)OTP program space with read/write protection (fully secured); (3)Quiet Design (low radiated emissions); (4)Multi-Input Wakeup pins with optional interrupts (4 to 8 pins); (5)8 bytes of user storage space in EPROM; (6)User selectable clock options, Crystal/Resonator options; Crystal/Resonator option with on-chip bias resistor; External oscillator; Internal R/C oscillator; (7)Internal Power-On Reset—user selectable; (8)WATCHDOG and Clock Monitor Logic—user selectable; (9)Up to 12 high current outputs.
Diagrams

| Image | Part No | Mfg | Description | ![]() |
Pricing (USD) |
Quantity | ||||
|---|---|---|---|---|---|---|---|---|---|---|
![]() |
![]() COP8SAB728M8 |
![]() |
![]() IC MCU OTP 8BIT 2K POR 28-SOIC |
![]() Data Sheet |
![]() Negotiable |
|
||||
| Image | Part No | Mfg | Description | ![]() |
Pricing (USD) |
Quantity | ||||
![]() |
![]() COP820CJ |
![]() Other |
![]() |
![]() Data Sheet |
![]() Negotiable |
|
||||
![]() |
![]() COP822CJ |
![]() Other |
![]() |
![]() Data Sheet |
![]() Negotiable |
|
||||
![]() |
![]() COP823CJ |
![]() Other |
![]() |
![]() Data Sheet |
![]() Negotiable |
|
||||
![]() |
![]() COP824CJ |
![]() Other |
![]() |
![]() Data Sheet |
![]() Negotiable |
|
||||
![]() |
![]() COP840CJ |
![]() Other |
![]() |
![]() Data Sheet |
![]() Negotiable |
|
||||
![]() |
![]() COP8780C |
![]() Other |
![]() |
![]() Data Sheet |
![]() Negotiable |
|
||||
(China (Mainland))










