Product Summary
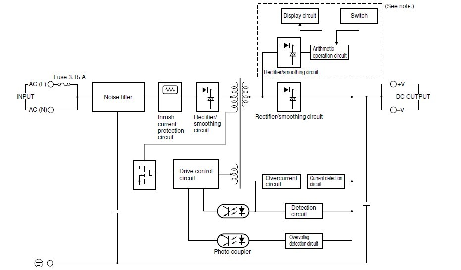
The S8VS-06024A is a switch mode power supply.
Parametrics
S8VS-06024A absolute maximum ratings: (1)Power ratings: 60 W; (2)Input Voltage 100 to 240 VAC (85 to 264 VAC); (3)Insulation resistance: 100 MΩ min. (between all outputs/ alarm outputs and all inputs/ GR terminals)at 500 VDC; (4)Vibration resistance: 10 to 55 Hz, 0.375-mm single amplitude for 2 h each in X, Y, and Z directions.
Features
S8VS-06024A features: (1)Ultra-compact size (40 (W)× 95 (H)mm)(60-W Model); (2)Displayed on 3-digit, 7-segment LED shows many status (voltage, current etc.)of power supply; (3)Approved standards: UL508/60950, CSA C22.2 No.14/60950, EN50178 (=VDE0160), EN60950 (=VDE0806).
Diagrams

| Image | Part No | Mfg | Description | ![]() |
Pricing (USD) |
Quantity | ||||||||||||
|---|---|---|---|---|---|---|---|---|---|---|---|---|---|---|---|---|---|---|
![]() |
![]() S8VS-06024A |
![]() Omron Industrial |
![]() DIN Rail Power Supplies 60W 24VDC LIFE MON |
![]() Data Sheet |
![]()
|
|
||||||||||||
![]() |
![]() S8VS-06024A-F |
![]() Omron Industrial |
![]() DIN Rail Power Supplies 90W Sink , Screwless Forecast Monitor |
![]() Data Sheet |
![]()
|
|
||||||||||||
(China (Mainland))










