Product Summary
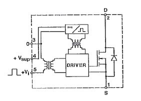
The SKM152GA123 is a single switch power MOSFET module with built-in driver circuit. The applications of the SKM152GA123 include Dc choppers, AC motor drivers, power supplies for LASERs, uninterruptible power supplies, ultrasonic generator, plasma cutting , inductive heating, electronic welding.
Parametrics
SKM152GA123 absolute maximum raatings: (1)Driver supply voltage, Vsup: 18V; (2)Input signal voltage, VJ: -0.3 to Vsup+0.3V; (3)Input-output, 2500V; (4)Case temperature, Tcase: -40 to +85℃; (5)Storage temperature, Tstg: -40 to +85℃.
Features
SKM152GA123 features: (1)Internal isolation between input and output stages; (2)The power supply for the driver must not be isolated; (3)CMOS compatible input.
Diagrams

(China (Mainland))






