Product Summary
The PNOZ e3.1P is a Safety gate monitor in accordance with EN 60204-1 (VDE 0113-1), 12/97 and IEC 60204-1, 10/97.
Parametrics
PNOZ e3.1P absolute maximum ratings: (1)Supply voltage: 24 VDC; (2)Tolerance: 80 to 125 %; (3)Power consumption With no load: 2 W; (4)Residual ripple DC: 20 %; (5)Voltage and current at Input, reset and feedback circuit: 24 VDC, 5 mA; (6)Auxiliary output and test pulse outputs: 24 VDC/0.5 A; (7)AND/OR inputs: 24 V/5 mA DC; (8)Delay-on energisation: Monitored reset 180 ms, Automatic reset 100 ms; (9)Delay-on de-energisation: 35 ms; (10)Switch-on delay at S35/S36: 120 ms; (11)Switch-on delay: 3 s.
Features
PNOZ e3.1P features: (1)Evaluation device for safety sensor PSEN 2.1p-10, PSEN 2.1p-11 and position switches; (2)Monitored or automatic reset can be selected; (3)2 safety outputs and one auxiliary output using semiconductor technology; (4)Auxiliary output can be switched to a diagnostic output; (5)One AND and one OR input to form logic AND/OR connections between several units; (6)Monitoring of shorts across contacts can be selected; (7)Self test after UB is applied; (8)Permanent self monitoring; (9)Periodic switch-off test on the safety outputs.
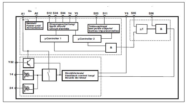
Diagrams

(China (Mainland))






