Product Summary
The S8VS-09024 is a switch mode power supply.
Parametrics
S8VS-09024 absolute maximum ratings: (1)Power ratings: 60 W; (2)Input Voltage 100 to 240 VAC (85 to 264 VAC); (3)Insulation resistance: 100 MΩ min. (between all outputs/ alarm outputs and all inputs/ GR terminals)at 500 VDC; (4)Vibration resistance: 10 to 55 Hz, 0.375-mm single amplitude for 2 h each in X, Y, and Z directions.
Features
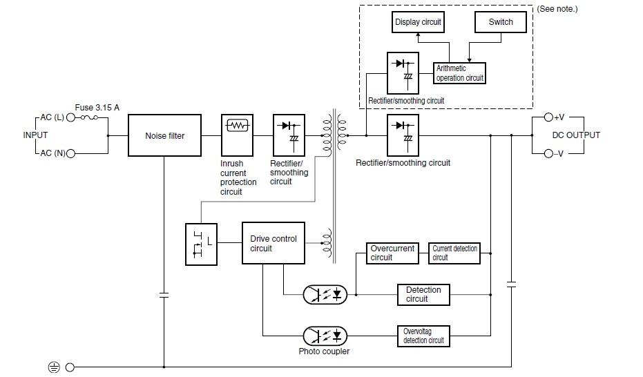
S8VS-09024 features: (1)Ultra-compact size (40 (W)× 95 (H)mm)(60-W Model); (2)Displayed on 3-digit, 7-segment LED shows many status (voltage, current etc.)of power supply; (3)Approved standards: UL508/60950, CSA C22.2 No.14/60950, EN50178 (=VDE0160), EN60950 (=VDE0806).
Diagrams

| Image | Part No | Mfg | Description | ![]() |
Pricing (USD) |
Quantity | ||||||||||||
|---|---|---|---|---|---|---|---|---|---|---|---|---|---|---|---|---|---|---|
![]() |
![]() S8VS-09024 |
![]() Omron Industrial |
![]() DIN Rail Power Supplies 90W 24VDC BASIC |
![]() Data Sheet |
![]()
|
|
||||||||||||
![]() |
![]() S8VS-09024A |
![]() Omron Industrial |
![]() DIN Rail Power Supplies 90W 24VDC LIFE MON |
![]() Data Sheet |
![]()
|
|
||||||||||||
![]() |
![]() S8VS-09024AP |
![]() Omron Industrial |
![]() DIN Rail Power Supplies Power Supply |
![]() Data Sheet |
![]()
|
|
||||||||||||
![]() |
![]() S8VS-09024AP-F |
![]() Omron |
![]() DIN Rail Power Supplies 24V OUT 100-240IN LIF AL WIRE |
![]() Data Sheet |
![]() Negotiable |
|
||||||||||||
![]() |
![]() S8VS-09024A-F |
![]() Omron |
![]() DIN Rail Power Supplies 24V OUT 100-240IN LIF AL WIRE |
![]() Data Sheet |
![]() Negotiable |
|
||||||||||||
![]() |
![]() S8VS-09024APS |
![]() Omron |
![]() DIN Rail Power Supplies 24V OUT 100-240IN LIF AL CL2 |
![]() Data Sheet |
![]() Negotiable |
|
||||||||||||
![]() |
![]() S8VS-09024BES |
![]() Omron Industrial |
![]() DIN Rail Power Supplies 180W Sink Screwless Run Time w/o Alarm |
![]() Data Sheet |
![]()
|
|
||||||||||||
![]() |
![]() S8VS-09024BES-F |
![]() Omron Industrial |
![]() DIN Rail Power Supplies Source Screwless 120W Forecast Mon. |
![]() Data Sheet |
![]()
|
|
||||||||||||
(China (Mainland))











